ISWR卧式热水管道华体·官方版网站登录入口

品牌:龙洋泵阀

型号:ISWR

材质:铸铁

介质温度:-20~+120℃。

叶轮结构:封闭式叶轮

扬程:10~120m

适用介质:广泛用于与涂料油漆行业、机械行业、制药行业、食品饮料行业、日化行业、电子以及微电子行业、船舶及海洋工程行业等等

产品概述

ISWR卧式单级单吸热水华体·官方版网站登录入口是在ISW型基础上派声生出适用热水泵。该系列泵性能优、可靠性高、寿命长、结构合理、 外形美观,具有行业领先水平。ISWR系列卧式单级单吸热水华体·官方版网站登录入口,是本公司技人员联合国内外水泵专家选用优秀水力模型,在原ISW型华体·官方版网站登录入口之基础上,加以改的一种新型泵种。在一般立式泵的基础上进行巧妙组合设计而成。该系列泵性能优、可靠性高、寿命长、结构合理、 外形美观,具有行业领先水平。

型号意义

ISWR卧式单级单吸热水华体·官方版网站登录入口型号意义

工作条件

1、吸入压力≤1.6MPa,或泵系统高工作压力 ≤1.6MPa,即泵吸入口压力+泵扬程≤1.6MPa、泵静压试验压力为2.5MPa,订货时请注明系统工作压力。泵系统工作压力大于1.6MPa时应 在订货时另行提出,以便在制造时热水泵的过流部分和联接部分采用铸钢材料。

2、环境温度<40℃,相对湿度<95%。

3、所输送介质中固体颗粒体积含量不超过单位体积的0.1%,粒度<0.2mm。

注:如使用介质为带有细小颗粒,请在订货时注明,以便厂家采用耐磨式机械密封。

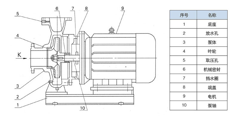
ISWR卧式热水管道华体·官方版网站登录入口结构图

ISWR卧式热水管道华体·官方版网站登录入口结构图

产品特点

运行平稳:泵轴的绝对同心度及叶轮优异的动静平衡,保证平稳运行,绝无振动。

滴水不漏:不同材质的硬质合金密封,保证了不同介质输送均无泄漏。

噪音低:两个低噪音轴承支撑下的水泵,运转平稳,除电机微弱声响,基本无噪音。

故障率低:结构简单合理,关键部分采用国际一流品质;配套,整机无故障工作时间大大提高。

维修方便:更换密封、轴承,简易方便。

占地更省:出口可向左、向右、向上三个方向,便于管道布置安装,节省空间。

主要用途

1、isw卧式清水泵,供输送清水及物理化学性质类似于清水的其它液体之用,适用于工业和城市给排水、高层建筑增压送水、园林喷灌、消防增压、远距离输送、暖通制冷循环、浴室等冷暖水循环增压

及设备配套,使用温度t≤80℃。

2、iswr卧式热水泵广泛适用于:冶金、化工、纺织、造纸以及宾馆饭店等锅炉热水增压循环输送及城市采暖系统,iswr型使用温度t≤120℃。

3、iswh卧式化工泵,供输送不含固体颗粒,具有腐蚀性、粘度类似于水的液体,适用于石油、化工、冶金、电力、造纸、食品制药和合成纤维等部门,使用温度为-20℃~+120℃。

4、iswb卧式管道油泵,供输送汽油、煤油、柴油等油类产品或易燃、易爆液体,被输送介质温度为-20~+120℃。

产品应用行业

ISWR卧式单级单吸热水华体·官方版网站登录入口广泛用于与涂料油漆行业、机械行业、制药行业、食品饮料行业、日化行业、电子以及微电子行业、船舶及海洋工程行业等等

技术参数

ISG立式管道华体·官方版网站登录入口技术参数 ISG立式管道华体·官方版网站登录入口技术参数 ISG立式管道华体·官方版网站登录入口技术参数 ISG立式管道华体·官方版网站登录入口技术参数

产品名称:ISWR卧式热水管道华体·官方版网站登录入口
产品地址:/lxb/pro-9.html
转载注明:欢迎转载!转载请注明本产品地址。
免责声明:本产品信息,由龙洋泵阀整理发表,部分文章信息来源于网络以及网友投稿,不代表本站观点,如您对文章有任何意见欢迎在下方评论处与我们互动沟通。如本站文章和转稿涉及版权等问题,请作者在及时联系本站,我们会尽快处理。
产品目录 PRODUCTS